| 关于沪星
| 产品介绍
| 技术特性
| 联系我们
| 返回首页
“精益求精是沪星的一贯宗旨,用户满意是沪星永恒的追求”

 

上海沪星为你提供优质服务。


上海沪星化工设备有限公司
地址:上海市嘉定区徐行镇永新路1081号
电话:021-6996 8646 
传真:021-6996 8909
邮编:201808
电子信箱:huxing@sohu.net
联系人:胡晔明 郑锁根

板式换热器的优点:

结构紧凑 板式换熟器所占的空间是目前各种换热器较小的一种。在同样的换热条件下,板式换热器占地面积只是管壳式换热器的1/3-1/4,而且拆卸时不需占用额外的维修空间。


传热系统高 由于板片组中流动的介质在较低雷诺数(Re)时,就能形成涡流,而且光滑的板片上不易生成污垢,因此有非常高的传热效率。在一般的水与水热交换中,板式换热器的传热系数能达到5000w/平方米。摄氏度以上,比管壳式换热器要高3-8倍。


热回收率高 由于传热系数高,流量比特性优异,加上完全逆向流动,传热温差可以选用得很低,因此非常适合于低位能热量的回收。采用单一板式换热器达到90%以上的热回收效率在经济上是可行的。



适应性大 可拆式和半焊式板式换热器具有无与伦比的适应性。在安装以后,金属板片组可以增、减以适应扩大、缩小的工作要求。


滞留量低 由于其流道较小,滞留量很小,故能迅速起动,控制操作改变时反应迅速,而且大大减轻了设备的重量。


介质不混合不泄漏 板式换热器垫片系统设计优良,是保证在正常运转条件下不漏入大气,亦不相互混合的重要因素。防止液体相互混合的方法是采用两道密封。两种液体由两道密封加以分开,而两道密封之间的空气是与大气相通的。如果垫片意外失效,流体将泄漏至大气中。


维修方便 板片的设计使其无死角区域,所以不许拆卸就可在现场进行化学清洗。对于可拆式和半焊式换热器也可以很容易地打开进行彻底的机械清洗。

 

 

 

 

 

 

 

 

 

 

 

 

 

 

 

 

 

 

 

 

 

 

 

 

 

 

 

BRK系列板式换热器
1.概述 2.主要参数 3.换热面积及安装尺寸 4.安装图纸  

 

1.概述
    BRK系列板壳式换热器(以下简称换热器)是集列管式换热器耐较高温度和较高压力与可拆卸式换热器传热效率高的优点于一体。 具有重量轻,传热系数高,阻力小,不易结垢,可冲洗,适应性大等优点。一般适用于汽--液有相变换热和液--液无相变换热。广泛应用于化工,石油化工, 化肥,冶金,炼油,轻工,纺织等许多工业部门。
 

2.主要参数

型      号

BRK1.00  BRK1.50 BRK2.00    BRK2.50
 规格  m/台 100 150 200 250 300
 单片传热面积 m 1.00        1.50 0.90          1.25
 波纹形式 人  字  波   纹
 波纹间距 mm 18
 板间距  mm 5
 传热系数 (水-水) 3000-5000 W/ m.K
 设计温度 250
 设计压力    Mpa 1.6           2.0          2.5
最大处理量

   m/h

水蒸汽 12500-24000
1200-2200
冷侧 56

<<回到页首

  

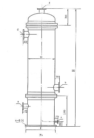
板式换热器的型号及其所代表的含义:
 
   BRK  □□□   □□/□□□---□□
   -a-   -b-     -c-    -d-   -e- 
   a:板壳式人字波纹板式换热器
   b:单片传热面积 m
   c:设计压力 MPa
   d:设计温度
   e:换热面积 m
  

---------------------------------------------------------------------------

3.换热面积及安装尺寸

表1

型    号

BRK1.00   BRK1.50 BRK2.00     BRK2.50
 规格 (m 100 150 200 250 300
  900 1200 900 1100 1200
D 1020 1320 1020 1220 1320
H 3500-4450 5000-5800
 重量 (Kg) 3300-4400 5200-7100
 

表2
代号 连接法兰标准 公称通径 DN 用途
100m 150m 200m 250m 300m
a HG20594-97 300 400 300 350 400 热出口
b HG20594-97 200 冷进口
c HG20594-97 200 冷进口
d HG20594-97 300 400 300 350 400 热进口
e HG20594-97 32 放液口
连接面形式

突面

<<回到页首

------------------------------------------------------------

 

4.安装图纸

                             

<<回到页首
BR系列板式换热器
BRB系列半焊式板式换热器
BRQ系列全焊式板式换热器
BRK系列板壳式换热器

 

-------------------------------------------------------------------------------------

    | 关于沪星 |  产品介绍 | 技术特性 | 联系我们 | 返回首页    

上 海 沪 星 化 工 设 备 有 限 公 司
Tel:021-6996 8646   Fax: 021-6996 8909